Skip to Content
Home
About Us
News & Information
Contact us
Help
+49 (0) 1514 625 7516
English (US)
English (US)
Deutsch
Sign in
Co
ntact Us
Home
About Us
News & Information
Contact us
Help
+49 (0) 1514 625 7516
English (US)
English (US)
Deutsch
Sign in
Co
ntact Us
All Blogs
Drawings
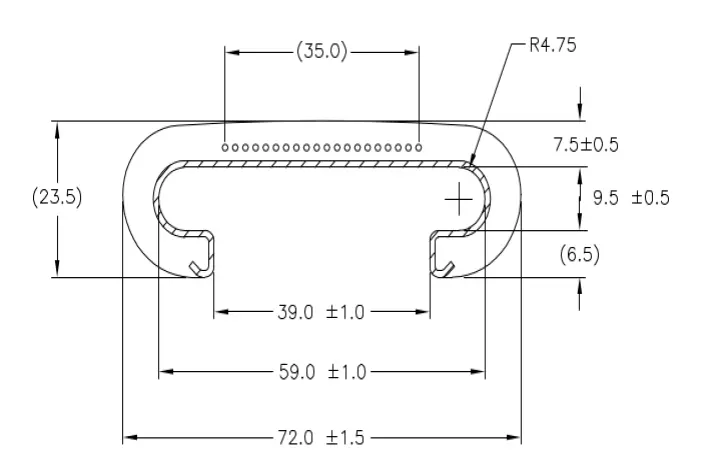
72NT Handrail
72NT Handrail
August 4, 2025
by
LOOP - Handlauf Vulkanisierung GmbH, Richard Cardinaal
slim TPU version of 75 NT
in
Drawings
Read Next
7840V SBR Handrail